1
/
of
1
Cobra Moto
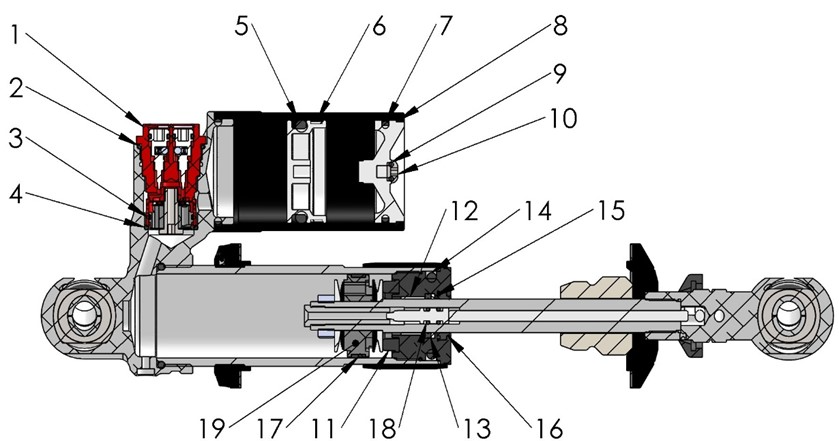
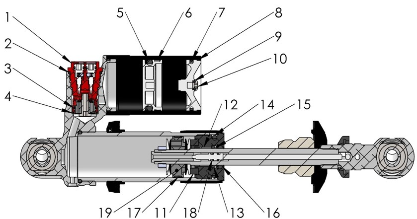
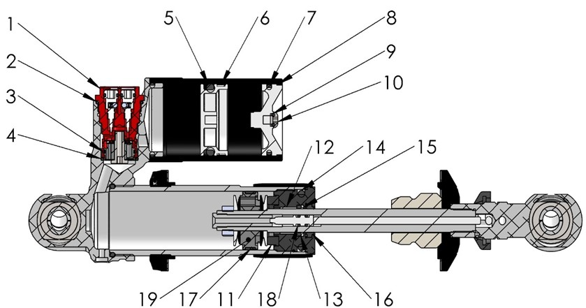
2023 Cobra CX50 SRx FWE - SHOCK - INTERNAL
2023 Cobra CX50 SRx FWE - SHOCK - INTERNAL
Regular price
$262.90 USD
Regular price
Sale price
$262.90 USD
Unit price
/
per
Couldn't load pickup availability
Share
